Already being referred to by audiophile press as ‘explosive’, ‘dynamic’ and ‘sound and imaging champions’, the MayFly Audio Systems MF-201A is presented as a revolutionary point-source loudspeaker.
Luxurious hand-laminated French polish-finished birch cabinets are outfitted with coaxially aligned Seas woofers and tweeters making the most of proprietary internal skyline diffusers to delivering a sweet spot said to be as wide as 90°. An optional high-performance MF-301 bass modules has been created to add even greater realism and soundstage, says the maker. The systems are hand-built in Canada by chief designer Trevor May and sold with a 30-day trial period. The brand tells EI that it is looking for dealers and distribution in the UK.
Mayfly Audio Systems, is a Canadian audiophile loudspeaker company led by Chief Designer Trevor May, launched earlier this year. Trevor is an accomplished electrical engineer with decades of experience designing and building Hi-Fi and professional audio gear, guitars and custom tube guitar amps. He is also a songwriter / musician that has played on 5 albums and charted on the Top 100 on Billboard / Top 10 in Canada.
Mayfly Audio Systems presently offers two systems: the MF-201A speaker (the World’s first to combine an internal skyline diffuser and CNC cut laminated cabinet) and the MF-301 system which adds high-performance bass modules which extends bass down to 15Hz.

What is Skyline Diffuser Technology?
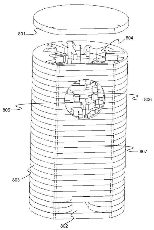
Until now, skyline diffusers have been wall-mounted panels made of wood or foam blocks specifically placed at varying heights. They are used to treat sound aberrations such as echoes and reflections in recording studios, concert halls and homes. May adopts skyline diffusers to the MF-201A, making a unique 24×24 internal diffuser from slices of CNC cut birch ply. Each slice is different and creates one of the skyline diffuser’s 24 rows, a direct consequence of the approach. The slices are hand-glued, each layer that comes together as the body of the cabinet itself. The idea is that the approach eliminates internal reflection and diffraction artifacts, lobe tilting effects and woofer breakup, yielding more controlled midrange and better bass response – a patent has been applied for focused around the technology.
Trevor says, “I was inspired to start Mayfly Audio Systems after reading the BBC paper on skyline diffusers and later visiting a local CNC woodworking shop. Putting the two together I wondered what the benefits of putting a diffuser inside a loudspeaker cabinet would be. The prototypes measured great, sounded great and looked great to everyone, so I figured I had a winner.”
Trevor describes being influenced by the Loudspeaker Design Cookbook where he says, “author Vance Dickason re-did all of Olsen’s diffraction experiments and produced very good results with a cylindrical cabinet, almost as good as a spherical cabinet. I chose a round shape to reduce external cabinet diffractions as noted by Dickason.”
To get the most out of the lack of internal reflections, cabinet resonances and external diffractions Trevor opted for a co-axial driver. He explains, “This physically aligns the tweeter and woofer so that the sound does not change too much with listening position. This really helps open-up the soundstage. The general cabinet dimensions were determined by using the Golden Ratio. Designing and tuning the cabinet was done using a lot of software simulations followed-up with a lot of measuring prototypes.”
Trevor continues, “With the skyline diffuser you can control the frequencies that you want to diffuse and leave other frequencies alone. This allowed me to tune the cabinet to make the best use of the bass response of the driver but at the same time tame the mid-frequencies from rattling around inside and reflecting out of the driver opening. And additional unforeseen benefit was that the diffusers enable control of the resonance of the cabinet itself. So the sound you hear is just from the driver and not from the surface of the cabinet which would muddy the sound.”

Mayfly Audio’s MF-201 and MF-301 Speakers
The MF-201A system is the first speaker in the world to combine both an internal skyline diffuser and a CNC cut laminated cabinet. Measuring 20.5 (h) x 11.8 (w) x 10.63 (d) inches, each is made of layer-upon-layer of birch ply, thus comprising the cabinet and its internal 24×24 skyline diffuser. The speakers are finished in a hand-applied French polish, a technique used on fine musical instruments. The front integrates a bass port, the rear offers gold-plated binding posts. Designed to sit between 5 and 14 inches off the floor with the driver positioned at the same height as the listener’s ear, Mayfly offers optional matching stands at custom heights.
Trevor says he opts for the premium internal components but not audiophile-branded because measured he couldn’t decipher a discernable difference. He uses Seas drivers, Solen caps, Air Core inductors, and non-inductive resistors. MF-201A specs are: 30Hz – 20 kHz frequency response / sensitivity 88 dB (W/m) / 8 ohms / crossover: symmetrical 2-pole / 8-inch Seas driver / 1-inch tweeter / 100 watts max each.
The MF-301 system consists of one pair of MF-201A paired with two high-performance 301 bass modules. Measuring 38.18 (h) x 17.72 (w) x 15.75 (d) inches, the modules too are hand-laminated French polish-finished birch cabinets with integrated bass ports. They are designed to have the MF-201A speakers sit atop them for the utmost in imaging and soundstage. Used inside is a ‘best-in-class’ aluminum cone woofer tuned to extend to 15Hz. Required is a bi-amplifier arrangement with a user-supplied active crossover.
The MF-301 is available as a complete system or an upgrade to an existing MF-201A. MF-301 system specs: 15Hz – 20 kHz / 88 dB (W/m) / Top: 8 ohms, Bottom: 4 ohms / active crossover 100 Hz / Coaxially aligned 7-inch Seas driver, 1-inch tweeter, 10-inch Woofer / Top: 100 watts max ea., Bottom: 400 ea.

Positive Reviews and ordering
Recent MF-201A reviews include 6Moons whereGlen Wagenknecht said “The MF-201A was a soundstage and image champion” and Wall of Sound where Noam Bronstein concluded “If I had to summarize Mayfly’s best sonic trait in one word, I think it would be explosive.”
Currently, consumers can purchase the products directly from Mayfly. The speakers are sold with a 30-day trial period (full refund less return shipping costs) and are backed by a one-year warranty. Although as stated earlier the brand is interested in finding direct routs into the UK market through dealer or distribution.
-MF-201A: $3,500 USD per pair + shipping
-MF-201A stands $699 per pair + shipping
-MF-301 full system: $12,000 USD (includes MF-201A) + shipping
-MF-301 upgrades: $10,000 USD (for people who have MF-201A) + shipping
Top veneer options for the speaker are walnut, white oak or cherry.




























